

XTC Gear | Cable End - Stainless Steel Single Shank Ball End
Size
XTC Gear | Cable End - Stainless Steel Single Shank Ball End
1/8"
XTC Fitness Inc.
2222 South Sheridan Way
Unit 112
Mississauga ON L5J 2M4
Canada
Choose options
Size
Size
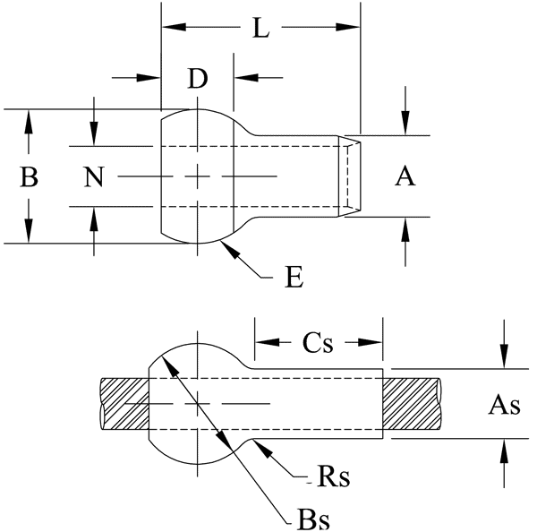
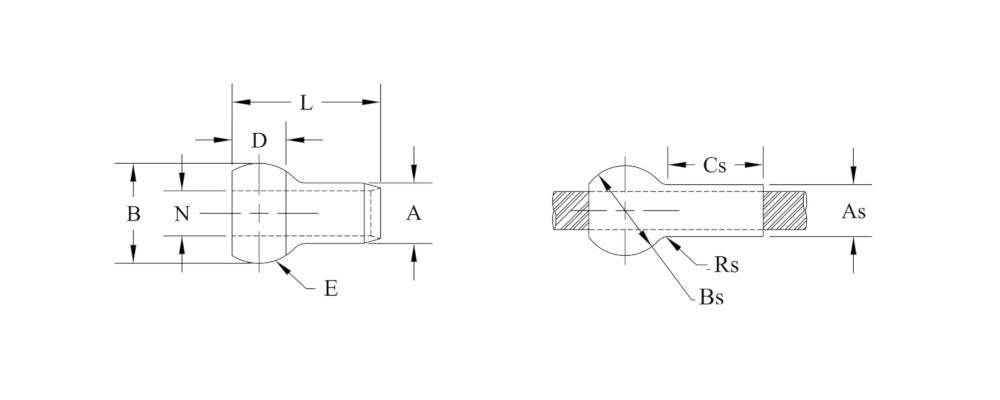
The MS20664 Series single shank balls are manufactured from stainless steel in accordance with MIL-DTL-781 to the strict standards of the MS20664, and are certified to that standard. Loos Cableware® Division offers a full line of sizes.
Loos Cableware Division offers a full range of sizes in its single shank stainless steel ball series of parts. Single shank ball series are very versatile cable end fittings that have many uses and applications when cable must be terminated with a swage fitting that will exceed the minimum breaking strength of the cable on to which it is swaged.
MIL-DTL-781: YES
MADE IN THE USA: YES
DFARS COMPLIANT: YES
- MIL-DTL-781: YES
- DFARS COMPLIANT: YES
- MADE IN THE USA: YES
MS Part Number | Cable Dia. | A Dia. | As Dia. | B Dia. | Bs Spherical Dia. | Cs Ref | D Ref | E Rad Ref | L | N Dia. | Rs Rad Ref | Lbs. Per Piece |
|---|---|---|---|---|---|---|---|---|---|---|---|---|
| 664-C1.5* | 3/64 | 0.132 | 0.112 | 0.212 | .190 | 0.156 | 0.114 | 0.0825 | 0.2685 | 0.053 | 0.014 | 0.00132 |
| MS20664C2 | 1/16 | .132 | .112 | .212 | .190 | .156 | .114 | .0825 | .2685 | .073 | .014 | .0019 |
| MS20664C3 | 3/32 | .168 | .143 | .282 | .253 | .234 | .152 | .110 | .384 | .104 | .019 | .005 |
| MS20664C4 | 1/8 | .223 | .190 | .350 | .315 | .313 | .1895 | .137 | .500 | .139 | .023 | .0075 |
| MS20664C5 | 5/32 | .259 | .222 | .424 | .379 | .391 | .2275 | .165 | .616 | .169 | .028 | .01 |
| MS20664C6 | 3/16 | .298 | .255 | .492 | .442 | .469 | .2645 | .192 | .730 | .201 | .033 | .015 |
| MS20664C7 | 7/32 | .352 | .302 | .560 | .505 | .547 | .3025 | .220 | .846 | .233 | .038 | .025 |
| MS20664C8 | 1/4 | .406 | .348 | .629 | .567 | .625 | .3395 | .247 | .962 | .264 | .042 | .03 |
| MS20664C9 | 9/32 | .444 | .382 | .699 | .632 | .750 | .3775 | .275 | 1.078 | .297 | .046 | .05 |
| MS20664C10 | 5/16 | .480 | .413 | .768 | .694 | .813 | .4145 | .302 | 1.193 | .328 | .046 | .066 |
| 664C12* | 3/8 | 0.553 | 0.476 | 0.903 | 0.82 | 0.935 | 0.489 | 0.357 | 1.425 | 0.411 | 0.061 | 0.0874 |
MS Part Number | Cable Dia. | A Dia. | As Dia. | B Dia. | Bs Spherical Dia. | Cs Ref | D Ref | E Rad Ref | L | N Dia. | Rs Rad Ref | Lbs. Per Piece |
|---|---|---|---|---|---|---|---|---|---|---|---|---|
| 664-C1.5* | 3/64 | 0.132 | 0.112 | 0.212 | .190 | 0.156 | 0.114 | 0.0825 | 0.2685 | 0.053 | 0.014 | 0.00132 |
| MS20664C2 | 1/16 | .132 | .112 | .212 | .190 | .156 | .114 | .0825 | .2685 | .073 | .014 | .0019 |
| MS20664C3 | 3/32 | .168 | .143 | .282 | .253 | .234 | .152 | .110 | .384 | .104 | .019 | .005 |
| MS20664C4 | 1/8 | .223 | .190 | .350 | .315 | .313 | .1895 | .137 | .500 | .139 | .023 | .0075 |
| MS20664C5 | 5/32 | .259 | .222 | .424 | .379 | .391 | .2275 | .165 | .616 | .169 | .028 | .01 |
| MS20664C6 | 3/16 | .298 | .255 | .492 | .442 | .469 | .2645 | .192 | .730 | .201 | .033 | .015 |
| MS20664C7 | 7/32 | .352 | .302 | .560 | .505 | .547 | .3025 | .220 | .846 | .233 | .038 | .025 |
| MS20664C8 | 1/4 | .406 | .348 | .629 | .567 | .625 | .3395 | .247 | .962 | .264 | .042 | .03 |
| MS20664C9 | 9/32 | .444 | .382 | .699 | .632 | .750 | .3775 | .275 | 1.078 | .297 | .046 | .05 |
| MS20664C10 | 5/16 | .480 | .413 | .768 | .694 | .813 | .4145 | .302 | 1.193 | .328 | .046 | .066 |
| 664C12* | 3/8 | 0.553 | 0.476 | 0.903 | 0.82 | 0.935 | 0.489 | 0.357 | 1.425 | 0.411 | 0.061 | 0.0874 |

